JINR scientists invented effective way of medical proton beam focusing
Media, 01 March 2022
Flash-therapy is a promising method for oncological disease treatment, especially for brain oncology. It requires high accuracy of charged particle beam exposure. JINR scientists have developed a method that allows almost immediately controlling the beam energy of a medical cyclotron and delivering accelerated protons with necessary for therapy energy exactly to a tumour while leaving healthy tissues minimally affected.
Like conventional proton therapy, flash therapy uses a proton beam at the Bragg peak. A large particle, a proton or an alpha particle loses little energy in tissues in the beginning. Afterwards, around the Brag peak (see Fig. 1), the ionisation dose, and in this case, the number of DNA breaks of tumour cells, rapidly increases and then drops to almost zero. Thus, immediately passing through healthy tissues with no harm to them, the beam precisely delivers almost all its energy to the tumour tissue at the end. For a patient, it is safe than “slow” proton therapy. The latter requires multiple sessions while using a relatively low dose rate beam.
Fig. 1 (Image taken from provisionhealthcare.com)
Hypothetically, the aim of flash therapy is to make treatment much less painful, both physically and psychologically, for a patient. Conventional proton therapy requires about 30 several-minute sessions and necessary recovery after each procedure. Flash therapy requires one session with each patient. It foresees millisecond pulses of radiation delivered at ultra-high dose rates. At the same time, a number of studies show that the price of a target accuracy error in flash therapy may be less than in proton therapy, as healthy tissue is more resistant to high rate dose radiation than to a slow beam of constant low intensity.
JINR scientists have used proton therapy for several decades. They processed both the precise beam targeting of a tumour and the required smooth reduction of beam energy for scanning it along the depth of the tumour, as well as some other nuances. However, the DLNP Phasotron produces a low intensity beam. Thus, it cannot be used in flash therapy. For this purpose, a high-current cyclotron is suitable. Scientists are going to construct such a cyclotron at the Institute. The new facility and the new method have required modern solutions. Particularly, the Bragg peak should be moved very quickly along the depth of the tumour.
Specialists can deliver an accelerated proton beam to a tumour leaving the surrounding tissues minimally affected in three planes: right-left, up-down, and along the flight direction of the beam (deep into the tumour tissues). The cyclotron magnets typically deflect the beam in the up- down and right-left directions forming and accelerating a charged particle beam. However, it is more difficult to deliver it into the depth. The only way to deflect and extend the Bragg peak is to change the energy of the directional proton beam inside the cyclotron. A cyclotron is a type of accelerator with fixed energy. Thus, the only way to change its energy is to set an absorber on the beam trajectory.
A patent for the invention “Method for changing final energy of proton beam used for flash therapy” demonstrates the solutions of this task. The authors of the work are Sergey Nikolaevich Dolya and Victor Ivanovich Smirnov. This invention continues a number of their developments for the proton medical cyclotron MSC-230, which is planned to be constructed at JINR.
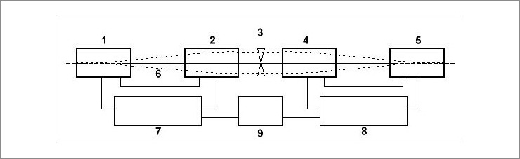
In the method invented by the scientists, the proton beam is injected into the orbit, which is parallel to the initial beam orbit, with the help of the first pair of deflecting magnets (see Fig. 2). Provided that, the amount of beam deviation linearly depends on the magnetic field amplitude. Then, the beam passes through a wedge-shaped absorber, thus loosing specified part of its energy. After that, the second pair of magnets returns the beam to its initial trajectory. The scientists noted in the patent specification that the energy regulating time of the proton beam is reduced directly during the malignant tumour irradiation due to the new method. Thus, the JINR scientists have developed a method for fast and accurate movement of the proton beam focus.
“If it is necessary to release energy closer, specialists can set an absorber on a beam trajectory to lose some of the energy,” a co-author of the invention, a DLNP JINR senior researcher, Candidate of Physics and Mathematics Sergey Dolya explained. “This is a method we have developed for controlling back and forth beam energy change in case of an extensive tumour in this direction. It foresees the use of a wedge-shaped absorber that allows quickly moving the beam focus along the tumour with pinpoint accuracy. If there is no need to change energy, then the focus goes down along the axis. There, due to a wedge-shape of the absorber, the energy is not absorbed. At the same time, the deviation should be done fast, right at the moment of irradiation. A beam transport line in healthy tissues remains almost whole, and almost all the energy is released in the target.”
