Device patented aimed to increase performance of accelerators
Media, 21 January 2022
The Joint Institute for Nuclear Research received the patent. “The device for forming a sawtooth voltage on capacitor” allows many times increase the performance of the facility it is used for. Thus, the device is expected to be applied at the new MSC-230 proton accelerator designed for the treatment of oncological diseases. In addition to accelerator facilities, the invention may be used for a faster charging of mobile phones and electric vehicles.
Authors of invention: V. I. Smirnov and S. N. Dolya
JINR has received a patent for the invention “The device for forming a sawtooth voltage on capacitor” authored by Sergey Dolya and Victor Smirnov, staff members of the Laboratory of Nuclear Problems JINR. The new invention continues the idea protected by their previous patent “Device for resonance charge of capacitor”. The Federal Service for Intellectual Property (Rospatent) recognised it as one of the 100 best inventions of Russia for the second half of 2020.
The scientists used the first invention and managed to increase the voltage of an electrical circuit. They then faced a more particular task. “We have clarified that it is possible not only to resonantly charge the capacitor up to high voltages. This method also makes it possible to achieve a sawtooth voltage on the capacitor,” Sergey Dolya, a co-author of the invention, said.
Previously, only a quarter of the charged particle beam was used as intended in proton accelerators. The new device for forming a sawtooth voltage on the capacitor will allow increasing the beam’s density and minimising losses.
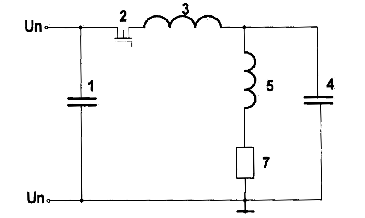
S. N. Dolya and V. I. Smirnov have explained the operating principle of the invention in their article “Multistage resonant capacitor charging” in the journal “Power Electronics” No.6 for 2021. The authors note, in particular, that a multiple increase in voltage, compared to the double voltage of the power source on the charged capacitor, may be reached. It is necessary to carry out a multistage charging/recharging of the capacitor by adding the second inductive energy storage to the circuit. The energy is accumulated in it while the capacitor is charging from the power source, and then the energy is transmitted to the capacitor after it is charged from the power source by recharging it through the inductive capacitor.
In this case, the voltage on the capacitor in absolute magnitude will exceed the voltage of the power source by more than 2 (2,5 in theory) times during the first cycle. However, it will be of the opposite sign. Over several such cycles, the voltage on the charged capacitor may exceed the voltage of the power source by dozens of times. The end-point voltage on the capacitor is limited by the value of active resistance in the capacitor recharge circuit and permissible voltages on circuit elements.
The Joint Institute made the technical design of the Medical superconducting cyclotron of 230 MeV of the accelerator in 2021. It is planned to create such an accelerator in each Member State.

