Cold neutron storage ring will increase neutron flux density up to 200 times
News, 11 July 2022
Scientists of the Frank Laboratory of Neutron Physics JINR are working on a unique invention – cold neutron storage ring, which will make it possible increasing the neutron flux density at the reactor outlet up to 200 times. As is well known, neutrons are difficult to store, and they are easily absorbed by the surrounding matter. Some kind of a neutron trap should increase the efficiency of solving fundamental problems of microphysics and cosmology, as well as make materials science measurements of magnetic heterostructures faster.
At present, specialists have begun developing a new NEPTUN pulsed reactor (IBR-3). Its neutron flux density will be 10 times higher than the density at the operating IBR-2 reactor. This has motivated scientists to solve the task of a significant increase in the neutron density by creating a storage ring.
Leading researcher of the FLNP Sector of Neutron Optics, Doctor of Physics and Mathematics, Yuri Vasilievich Nikitenko
“An increase in the neutron density and lifetime in gravitational, nuclear, electromagnetic, and other fields allows solving fundamental problems of elementary particle physics and cosmology, including the neutron lifetime in relation to beta decay and the transition time of the neutron into the so-called mirror neutron. It is assumed that the mirror neutron and other mirror elementary particles can relate to dark matter, which is the problem scientists are currently working on,” Yuri Nikitenko, the author of the new invention, commented on its importance. He explained that the accuracy of measuring the neutron lifetime in a storage ring could be increased by several times. At the same time, the achievable measurable value of the probability of neutron-mirror neutron transition could be reduced by two orders of magnitude.
Work on considering the possibility of creating a neutron storage ring for NEPTUN at FLNP JINR was started in 2021 at the suggestion of RAS Corresponding Member Victor Aksenov. “Measurements have shown that the neutron density in a storage ring with material walls can be increased by a factor of 200, while the neutron storage time, which is the same as the neutron lifetime in a storage ring, is approaching the time of its beta decay – 878 seconds,” the author added. He compared the number of neutrons stored when using a storage ring with a 2000-megawatt stationary neutron source, while the power of current sources does not exceed 100 MW.
The idea of creating a storage neutron ring first appeared about 60 years ago. In 1962, a paper by the outstanding physicist V. V. Vladimirsky on a magnetic storage ring for neutrons was published. In this paper, for the first time, the possibility of creating a toroidal (ring) neutron storage was shown. At that time, the idea was not put into practice, and so far, a storage ring for cold neutrons has not yet been created in the world. Later, in the Soviet years, various researchers tried to create various storage devices for ultracold neutrons (UCN), including non-ring shaped traps. However, the low energy of UCN and, correspondingly,the low flux density proved insufficient for the practical implementation of some tasks. The idea of creating a storage ring for cold neutrons first came to the author of this invention in 1978. At that time, the development was not implemented at the reactor beam either.
Scheme of the invention (in the horizontal plane). 1 — neutron source; 2 — first moderator; 3 — vacuum chamber; 4 — neutron guide channel; 5 — side material outer wall of the neutron guide channel; 6 — side inner wall of the neutron guide channel in vacuum between the volume filled with neutrons and the area without neutrons; 7 — shutter; 8 — second moderator; 9 — neutron trajectory in the neutron guide channel
The author of the new invention unlike Vladimirsky has proposed to create a storage ring with material walls. Vladimirsky considered a magnetic storage ring with a magnetic field instead of walls to store neutrons. Such a storage ring, in which only polarised neutrons can be stored, is a fundamentally different one, since it cannot be used to study such phenomena as neutron-antineutron and neutron-mirror neutron transitions. The present invention will have material walls to store neutrons, so it will not entail such restrictions in use. The storage ring includes two neutron moderators, a rectangular neutron guide channel, and a shutter.
The walls of the neutron guide channel will be made of a material that reflects neutrons well. So far, this material has not been finally selected. Glass or copper are considered as options. Fluorine-containing oil will be applied to the wall surface. When cooled, such oil forms a homogeneous film, additionally reducing neutron absorption by the walls of the storage ring.
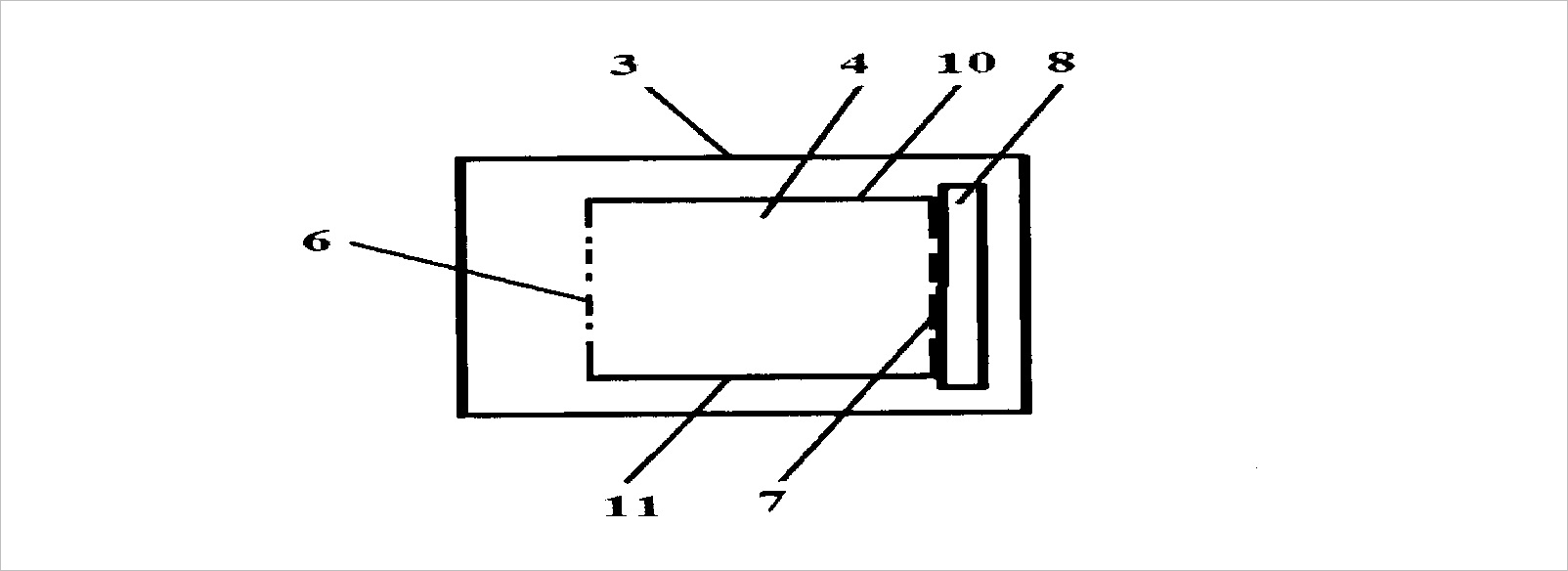
Scheme of the invention (in the vertical plane in the area of the shutter and the second moderator). 3 — vacuum chamber; 4 — neutron guide channel; 6 — side inner wall of the neutron guide channel in vacuum between the volume filled with neutrons and the area without neutrons; 7 — shutter; 8 — second moderator; 10 — upper material wall of the neutron guide channel; 11 — lower material wall of the neutron guide channel;
In the future, it is planned to produce a prototype of a storage ring made of glass and copper. The prototype will be tested at beams of the IBR-2 reactor. During the implementation of the project, the necessary adjustments will be made, e.g. what type of shutter and moderator will be used at the entrance of the storage ring. However, the very scheme of the storage ring will remain the same as in the invention.
“Our first task is to produce a prototype and determine the characteristics and how they correspond to the calculations. This is quite a long process, so the prototype is planned to be tested at the IBR-2. We have enough time, since NEPTUN will be constructed in about 15-20 years. We expect that by this time our storage ring will have the parameters allowing it to be placed at the new research reactor,” Yuri Nikitenko concluded.
The team engaged in the development of the neutron storage ring includes young physicists: Candidate of Physics and Mathematics Vladimir Zhaketov and a postgraduate student of MSU Evgeny Kolupaev. On 10 June 2022, the Joint Institute for Nuclear Research received a patent for invention No. 2772969 “Cold neutron storage ring”.
